Expand menu
0
Cart
Home
Products
Sensors
Semiconductors
Passive Components
Connectors
Power
Electromechanical
Optoelectronics
Circuit Protection
Integrated Circuits - ICs
Main Products
Manufacturers
Blog
Services
About OMO
About Us
Contact Us
Check Stock
IRU1030CMTR
P1-P3
P4-P6
P7-P9
P10-P11
10
Rev. 1.3
08/20/02
IRU1030
www.irf.com
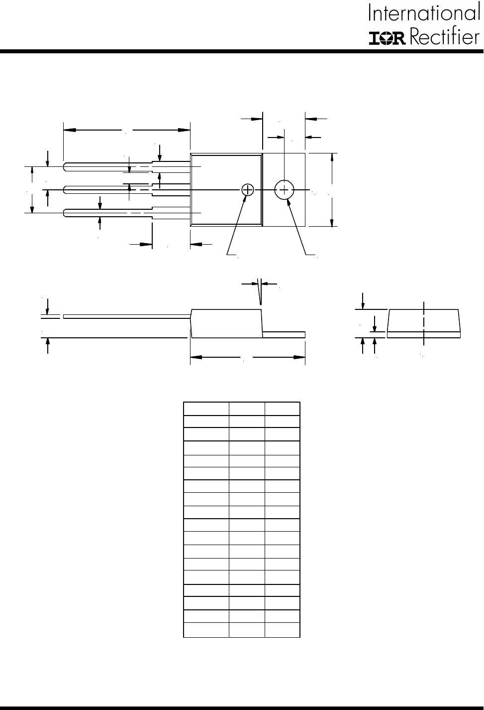
(T) TO-220 Package
3-Pin
SYMBOL
A
a
b
b1
C1
CP
D
E
e
e1
e3
F
H1
J1
L
Q
R
MIN
4.06
3
8
0.63
1.14
0.38
3.71D
14.22
9.78
2.29
4.83
1.14
1.14
5.94
2.29
13.716
2.62
5.588
MAX
4.83
7.5
8
1.02
1.52
0.56
3.96D
15.062
10.54
2.79
5.33
1.40
1.40
6.55
2.92
14.22
2.87
6.17
NOTE: ALL MEASUREMENTS
ARE IN MILLIMETERS.
E-PIN
CP
C1
J1
F
A
a (5x)
Q
e
b
e3
b1
e1
L
H1
E
D
R
L
C
C
L
IRU1030
11
Rev. 1.3
08/20/02
www.irf.com
PKG
DESIG
D
M
T
PACKAGE
DESCRIPTION
TO-252, (D-Pak)
TO-263
TO-220
PARTS
PER TUBE
75
50
50
PARTS
PER REEL
2500
750
---
PACKAGE SHIPMENT METHOD
PIN
COUNT
2
3
3
T & R
Orientation
Fig A
Fig B
---
Feed Direction
Figure A
Feed Direction
FigureB
1
1
1
1
1
1
IR WORLD HEADQUARTERS:
233 Kansas St., El Segundo, California 90245, USA Tel: (310) 252-7105
TAC Fax: (310) 252-7903
Visit us at www.irf.com for sales contact information
Data and specifications subject to change without notice. 02/01
P1-P3
P4-P6
P7-P9
P10-P11
IRU1030CMTR
Mfr. #:
Buy IRU1030CMTR
Manufacturer:
Infineon Technologies
Description:
IC REG LINEAR POS ADJ 3A TO263
Lifecycle:
New from this manufacturer.
Delivery:
DHL
FedEx
Ups
TNT
EMS
Payment:
T/T
Paypal
Visa
MoneyGram
Western
Union
Products related to this Datasheet
IRU1030CD
IRU1030CDTR
IRU1030CM
IRU1030CT
IRU1030CMTR